在大模型快速演进的今天,java 开发者同样希望“开箱即用”地接入各类模型服务。spring 官方推出的 spring ai,已经为 java / spring boot 应用提供了一套统一、优雅的 ai 抽象;而在国内模型生态中,如何更好地对接阿里云通义(qwen)与灵积平台(dashscope),则是 spring ai alibaba 重点解决的问题。
本文基于仓库中的 spring_ai_alibaba-demo 子项目,从真实代码出发,带你一起拆解:如何用 spring ai + spring ai alibaba 的生态,在本地通过 ollama 跑 qwen3 模型,并逐步扩展到 rag、工具调用和 graph 工作流。
github 项目地址:https://github.com/zhoubyte-hub/java-ai/tree/main/spring_ai_alibaba-demo
欢迎 star、fork 和关注!文中所有代码都可以在该子项目中找到,更适合边读边跑。
面向读者:
- 已有 spring boot 基础,希望快速接入大模型的后端开发;
- 计划在本地或内网环境使用 qwen3 等模型(通过 ollama),但又希望未来平滑切到阿里云 dashscope;
- 想了解 spring ai alibaba 在 graph、rag、工具调用等场景中的作用和优势。
一、项目概览:spring ai + spring ai alibaba 在这个 demo 里的分工
spring_ai_alibaba-demo 是一个多模块示例工程,核心模块包括:
- 根模块
spring_ai_alibaba-demo:- 使用 spring ai 的
spring-ai-starter-model-ollama接入本地 ollama 服务; - 使用
spring-ai-starter-vector-store-pgvector集成 postgresql + pgvector 做向量检索; - 通过
chatmodel/chatclient演示基础对话、rag、工具调用和记忆; - 通过依赖管理引入
spring-ai-alibaba-bom,为后续接入阿里云生态(包括 dashscope、graph 等)奠定基础。
- 使用 spring ai 的
- 子模块
alibaba-graph:- 使用
spring-ai-alibaba-graph-core演示基于大模型的有状态流程(stategraph),依然以 ollama 的 qwen3 作为底层模型;
- 使用
- 子模块
alibaba-mcp-server/alibaba-mcp-client:- 使用 spring ai 的 mcp 能力演示模型调用外部工具 / 资源的模式。
换句话说:
当前 demo 没有直接连阿里云 dashscope,而是选择在本地通过 ollama 运行 qwen3 模型;
但项目在依赖管理和结构设计上,已经完全站在 spring ai alibaba 生态 之上,随时可以切换到阿里云在线服务。
接下来,我们按“从简单到复杂”的顺序,依次看看各个模块是怎么搭建的。
二、依赖与环境:本地 qwen3 + pgvector
先看根模块 spring_ai_alibaba-demo/pom.xml 中的关键部分:
<properties>
<!-- 项目使用的 jdk 版本 -->
<java.version>17</java.version>
<!-- spring ai alibaba 相关依赖统一使用的版本 -->
<spring-ai-alibaba.version>1.1.0.0-m5</spring-ai-alibaba.version>
<!-- spring ai 核心依赖统一使用的版本 -->
<spring-ai.version>1.1.0</spring-ai.version>
</properties>
<dependencies>
<!-- 基础 web 能力:提供 spring mvc / 内嵌容器等 -->
<dependency>
<groupid>org.springframework.boot</groupid>
<artifactid>spring-boot-starter-web</artifactid>
</dependency>
<!-- 通过 spring ai 访问本地 ollama 大模型服务 -->
<dependency>
<groupid>org.springframework.ai</groupid>
<artifactid>spring-ai-starter-model-ollama</artifactid>
</dependency>
<!-- 向量数据库:spring ai 对 pgvector 的封装 -->
<dependency>
<groupid>org.springframework.ai</groupid>
<artifactid>spring-ai-starter-vector-store-pgvector</artifactid>
</dependency>
<!-- postgresql jdbc 驱动,用于访问数据库 -->
<dependency>
<groupid>org.postgresql</groupid>
<artifactid>postgresql</artifactid>
</dependency>
</dependencies>
<dependencymanagement>
<dependencies>
<!-- spring ai alibaba 统一版本管理(国内生态相关依赖) -->
<dependency>
<groupid>com.alibaba.cloud.ai</groupid>
<artifactid>spring-ai-alibaba-bom</artifactid>
<version>${spring-ai-alibaba.version}</version>
<type>pom</type>
<scope>import</scope>
</dependency>
<!-- spring ai 官方 bom(核心抽象与 starter 的版本对齐) -->
<dependency>
<groupid>org.springframework.ai</groupid>
<artifactid>spring-ai-bom</artifactid>
<version>${spring-ai.version}</version>
<type>pom</type>
<scope>import</scope>
</dependency>
</dependencies>
</dependencymanagement>这里体现了几个核心设计理念:
- 通过 bom(
spring-ai-alibaba-bom+spring-ai-bom)统一版本管理,避免各个 starter 之间的版本地狱; - 实际运行时模型选择 ollama,既方便本地开发调试,又可以在网络受限场景下顺畅运行;
- 未来如果要切到阿里云 dashscope,只需要:
- 打开已经写好的(但当前被注释掉的)
spring-ai-alibaba-starter-dashscope依赖; - 在配置文件里增加
spring.ai.dashscope.*对应配置,不需要改业务代码。
- 打开已经写好的(但当前被注释掉的)
环境配置:ollama + qwen3 + pgvector
spring_ai_alibaba-demo/src/main/resources/application.yaml 中:
server:
port: 8081 # 应用监听端口
servlet:
context-path: /alibaba-ai # 统一的服务前缀
spring:
ai:
ollama:
base-url: http://localhost:11434 # 本地 ollama 服务地址
chat:
options:
model: qwen3:0.6b # 聊天用的 qwen3 模型名称
temperature: 0.8 # 采样温度,越高回答越发散
embedding:
options:
model: qwen3-embedding:0.6b # 用于向量化的 embedding 模型
vectorstore:
pgvector:
dimensions: 1024 # 向量维度,需要与 embedding 模型输出一致
distance-type: cosine_distance # 相似度度量方式
initialize-schema: true # 启动时自动创建 pgvector 表结构
datasource:
url: jdbc:postgresql://<your-host>:5432/postgres?servertimezone=asia/shanghai # postgresql 连接串
username: postgres
password: **** # 建议通过环境变量或配置中心注入- ollama 在本机 11434 端口提供服务,加载的是
qwen3:0.6b模型(本质上仍然是阿里云通义家族的模型,只是以本地方式运行); - embedding 使用
qwen3-embedding:0.6b; - pgvector 存储维度设置为 1024,采用余弦相似度;
- 数据源配置指向 postgresql,用于向量存储和(可选)对话记忆持久化。
三、基础对话:从 chatmodel 到 chatclient
demo 中提供了两种对话方式:直接使用 chatmodel,以及通过 chatclient 封装后的高级用法。
3.1 使用 chatmodel 流式返回
chatmodelcontroller:
@restcontroller
@requestmapping("/chatmodel")
public class chatmodelcontroller {
// 注入由 spring ai 自动装配的 ollama chatmodel
private final chatmodel ollamachatmodel;
public chatmodelcontroller(chatmodel ollamachatmodel) {
this.ollamachatmodel = ollamachatmodel;
}
@getmapping("/chat")
public flux<string> chat(@requestparam("message") string message) {
// message:用户输入的自然语言问题
return ollamachatmodel.stream(new prompt(message)) // 以流式方式调用大模型
.map(chatresponse::getresult) // 提取每个增量响应的结果对象
.mapnotnull(result -> result.getoutput().gettext()); // 只保留最终输出的文本内容
}
}chatmodel由spring-ai-starter-model-ollama自动装配,底层指向本地 qwen3 模型;.stream(...)返回的是一个 响应式 flux,可以在前端按 token/片段逐步渲染;- 控制器本身和普通 spring web 控制器没有本质差别,学习成本非常低。
3.2 使用 chatclient 提升可用性
chatclientcontroller:
@restcontroller
@requestmapping("/chatclient")
public class chatclientcontroller {
// 基于 chatmodel 封装的高级客户端,后续可以挂接 adviser、工具等能力
private final chatclient ollamachatclient;
public chatclientcontroller(chatclient ollamachatclient) {
this.ollamachatclient = ollamachatclient;
}
@getmapping("/chat")
public flux<string> stream(@requestparam("message") string message) {
// 使用最简单的 prompt,直接将用户输入交给大模型,并以流式方式返回结果
return ollamachatclient
.prompt(new prompt(message)) // 构造 prompt 对象
.stream() // 流式调用
.content(); // 提取文本内容
}
@getmapping("/prompt")
public flux<string> prompt() {
prompttemplate template = prompttemplate.builder()
.template("请用简短中文回答:{question}") // 模板中定义占位符 {question}
.variables(map.of()) // 这里可以预先声明变量,也可以在 create 时传入
.build();
// 使用实际问题填充模板变量
prompt prompt = template.create(map.of("question", "spring ai alibaba 有什么特点?"));
return ollamachatclient.prompt(prompt).stream().content();
}
}和 chatmodel 相比,chatclient 的优势在于:
- 提供链式 api:
.prompt().call()/stream(),更易读; - 更容易挂接 adviser(记忆、rag、工具等),形成统一调用入口;
- 在需要多轮交互、上下文管理时更易扩展。
在 ollamaconfig 中,demo 还展示了如何为 chatclient 挂接记忆 adviser,后面章节会展开。
四、对话记忆:内存版与可扩展版
实际业务中,一个“傻傻忘记前文”的大模型体验非常差。demo 中给出了两种记忆实现方式。
4.1 简单内存记忆:simplememories
@component
public class simplememories implements chatmemory {
private static final map<string, list<message>> memories_cache = new hashmap<>();
@override
public void add(string conversationid, list<message> messages) {
// conversationid:会话标识;messages:本轮新增的消息列表
list<message> memories = memories_cache.getordefault(conversationid, new arraylist<>());
if (messages != null && !messages.isempty()) {
memories.addall(messages);
}
memories_cache.put(conversationid, memories);
}
@override
public list<message> get(string conversationid) {
// 根据会话 id 取出该会话的历史消息
return memories_cache.getordefault(conversationid, new arraylist<>());
}
@override
public void clear(string conversationid) {
// 清空某个会话的记忆
list<message> messages = memories_cache.get(conversationid);
if (messages != null) {
messages.clear();
}
}
}- 通过
conversationid区分不同会话; - 适合 demo、poc 或对可靠性要求不高的场景;
- 结合
messagechatmemoryadvisor可以自动把历史消息注入到当前 prompt 中。
4.2 adviser 方式:memoriesadviser
@component
public class memoriesadviser implements baseadvisor {
private static final map<string, list<message>> memories = new hashmap<>();
// 用于在 chatclient 的上下文中标识当前会话 id 的 key
private static final string chat_memories_session_id = "chat_memories_session_id";
@override
public chatclientrequest before(chatclientrequest request, advisorchain chain) {
// 从上下文中读取会话 id,并取出其历史消息
string sessionid = request.context().get(chat_memories_session_id).tostring();
list<message> messages = memories.getordefault(sessionid, new arraylist<>());
// 当前请求的消息放到历史消息后面,一起交给大模型
messages.addall(request.prompt().getinstructions());
prompt prompt = request.prompt().mutate().messages(messages).build();
return request.mutate().prompt(prompt).build();
}
@override
public chatclientresponse after(chatclientresponse response, advisorchain chain) {
// 把本次大模型回复写回到对应会话的记忆中
assistantmessage output = response.chatresponse().getresult().getoutput();
string sessionid = response.context().get(chat_memories_session_id).tostring();
list<message> messages = memories.getordefault(sessionid, new arraylist<>());
messages.add(output);
memories.put(sessionid, messages);
return response;
}
}- 在
before中把历史消息 + 当前消息拼成一个新的 prompt; - 在
after中把模型回复写回内存; - 通过在
chatclient构建时添加defaultadvisors(memoriesadvisor),即可对所有请求启用记忆能力。
进一步,你可以把 databasechatmemoryrepository 补充完整,将消息写入数据库,实现持久化对话记忆。
五、rag:qwen3 + pgvector 的检索增强
rag(retrieval augmented generation)是典型的企业级能力,本 demo 通过 ragchatclientcontroller 进行演示。
5.1 向量入库:tokentextsplitter + pgvectorstore
@restcontroller
@requestmapping("/rag")
public class ragchatclientcontroller {
private final chatclient ragchatclient;
private final pgvectorstore pgvectorstore;
public ragchatclientcontroller(chatclient ragchatclient, pgvectorstore pgvectorstore) {
this.ragchatclient = ragchatclient;
this.pgvectorstore = pgvectorstore;
}
@getmapping("/embedding")
public void embeddingcontent(@requestparam("message") string message) {
// message:待向量化的原始文本内容
tokentextsplitter splitter = tokentextsplitter.builder()
.withchunksize(50) // 每个分片的最大 token 数
.withkeepseparator(true) // 是否保留分隔符(如换行符)
.withmaxnumchunks(1024) // 单次允许生成的最大分片数
.withminchunklengthtoembed(20) // 小于该长度的分片不入库,避免噪声
.withminchunksizechars(10) // 切分时的最小字符数,避免切得过碎
.build();
list<document> docs = splitter.split(document.builder().text(message).build()); // 将文本切分为多个 document
pgvectorstore.add(docs); // 写入 pgvector 向量库
}
}tokentextsplitter基于 token 切分文档,避免切得过碎或过长;pgvectorstore.add将切分后的文档写入 postgresql + pgvector;- 真实项目中可把
/embedding换成异步批处理任务。
5.2 rag 对话:retrievalaugmentationadvisor
@configuration
public class vectorchatclientconfig {
@bean("ragchatclient")
public chatclient ragchatclient(chatmodel chatmodel, vectorstore vectorstore) {
vectorstoredocumentretriever retriever = vectorstoredocumentretriever.builder()
.vectorstore(vectorstore) // 具体使用的向量库实现,这里是 pgvector
.topk(3) // 每次检索返回相似度最高的前 3 条文档
.similaritythreshold(0.5) // 相似度阈值,小于该值的文档会被过滤掉
.build();
retrievalaugmentationadvisor advisor = retrievalaugmentationadvisor.builder()
.documentretriever(retriever) // 指定文档检索器
.order(0) // adviser 执行顺序,越小越先执行
.build();
return chatclient.builder(chatmodel)
.defaultadvisors(advisor) // 默认启用 rag 能力
.build();
}
}retrievalaugmentationadvisor会在每次请求前,先到向量库检索相关文档;- 然后把检索结果作为“系统提示词”或“上下文”塞给 qwen3 模型;
- 对你来说,只需调用
ragchatclient.prompt().user(question).call(),就能得到“带知识库”的回答。
六、工具调用:用 @tool 让模型调用你的 java 方法
在很多场景中,大模型需要调用业务系统的 api 才能完成任务。spring ai 提供了 @tool 注解,demo 中的 zoomtool 便是一个简单示例。
6.1 定义工具:zoomtool
@component
public class zoomtool {
@tool(description = "通过时区 id 获取当前时间")
public string gettimebyzone(@toolparam(description = "时区 id,比如 asia/shanghai") string zone) {
// zone:时区 id,示例:asia/shanghai、europe/berlin
zoneid zoneid = zoneid.of(zone);
zoneddatetime now = zoneddatetime.now(zoneid);
return datetimeformatter.ofpattern("yyyy-mm-dd hh:mm:ss").format(now); // 返回格式化后的时间字符串
}
}6.2 将工具挂到 chatclient 上
@configuration
public class toolchatclientconfig {
@bean("toolchatclient")
public chatclient toolchatclient(chatmodel ollamachatmodel, zoomtool zoomtool) {
// ollamachatmodel:底层使用的 qwen3 模型;zoomtool:提供获取时间的业务工具
return chatclient.builder(ollamachatmodel)
.defaultsystem(this.systemprompt()) // 设置默认的系统提示词,统一咖啡馆背景
.defaulttools(zoomtool) // 将 zoomtool 注册为可调用的工具
.build();
}
private string systemprompt() {
map<string, object> vars = new hashmap<>();
vars.put("american", "1-3"); // 美式咖啡制作时间(分钟)
vars.put("latte", "2"); // 拿铁咖啡制作时间(分钟)
vars.put("time_zone", "asia/shanghai"); // 默认时区 id
systemprompttemplate tpl = systemprompttemplate.builder()
.template("欢迎光临 zhoubyte咖啡馆,... 默认时区:{time_zone}") // 系统提示词模板
.variables(vars) // 绑定上面的变量
.build();
return tpl.render(); // 渲染出包含具体变量值的系统提示词
}
}对应的 controller:
@restcontroller
@requestmapping("/tool")
public class toolchatcontroller {
private final chatclient toolchatclient;
public toolchatcontroller(chatclient toolchatclient) {
this.toolchatclient = toolchatclient;
}
@getmapping("/chat")
public flux<string> chat(@requestparam("message") string message) {
return toolchatclient
.prompt() // 创建一次新的对话请求
.user(message) // 添加一条用户消息
.stream() // 流式调用大模型
.content(); // 只提取文本内容返回
}
}- 模型可以在需要时自动调用
gettimebyzone,返回指定时区时间; - 你只需要编写普通的 java 方法,剩下的交给 spring ai 的工具调用机制。
七、alibaba graph 子项目:有状态工作流编排
spring_ai_alibaba-demo/alibaba-graph 子项目使用 spring-ai-alibaba-graph-core 演示了如何构建大模型工作流。
7.1 定义 graph:stategraph + compiledgraph
graphconfig 中:
@configuration
public class graphconfig {
@bean("quickstartgraph")
public compiledgraph quickstartgraph() throws graphstateexception {
// "quickstartgraph":图名称;后面的 map 用于定义状态 key 的合并策略
stategraph graph = new stategraph("quickstartgraph", () -> map.of(
"input", new replacestrategy(), // 多次写入时,后写入的值覆盖之前的值
"output", new replacestrategy()
));
graph.addnode("node1", asyncnodeaction.node_async(state -> {
// node1:设置初始 input 和 output
return map.of("input", "graphconfig_addnode", "output", "graphconfig_output");
}));
graph.addnode("node2", asyncnodeaction.node_async(state -> {
// node2:模拟业务处理,将 input 改为 zhoubyte
return map.of("input", "zhoubyte", "output", "empty");
}));
// 定义执行顺序:start -> node1 -> node2 -> end
graph.addedge(stategraph.start, "node1")
.addedge("node1", "node2")
.addedge("node2", stategraph.end);
return graph.compile();
}
}stategraph描述节点、边和状态合并策略;asyncnodeaction封装每个节点的执行逻辑;compile()得到可执行的compiledgraph。
7.2 调用 graph:webflux + 流式输出
graphcontroller:
@restcontroller
@requestmapping("/v1")
public class graphcontroller {
@resource
private compiledgraph quickstartgraph;
@getmapping("/graph")
public flux<string> startgraph() {
// 这里传入空的初始状态 map,按定义好的 stategraph 顺序执行
return quickstartgraph.stream(map.of())
.map(nodeoutput::tostring); // 将每个节点的输出对象转换为字符串返回
}
}- 使用 webflux +
flux<nodeoutput>将节点执行结果流式返回; - 通过
runnableconfig.builder().threadid(conversationid)还可以实现“带会话 id 的工作流”,类似有状态 agent。
7.3 quickstartgraph 执行流程图
结合上面的 graphconfig 和 graphcontroller,/v1/graph 接口整体执行流程可以用下面这张流程图来表示(以 github 为例,可以直接渲染 mermaid):



- 从
graphcontroller.startgraph()开始,调用compiledgraph.stream(map.of())启动图的执行; - 图从
stategraph.start出发,依次流经node1、node2,最终到达stategraph.end; - 每个节点都会向全局状态写入
input/output等字段,并以flux<nodeoutput>的形式逐步返回给调用方。
7.4 多条件分支 graph 示例(addconditionaledges)
在实际业务中,graph 往往不只是线性顺序,还会根据状态进行分支判断。spring-ai-alibaba-graph-core 提供了 addconditionaledges,可以基于当前 overallstate 计算「条件标签」,再根据标签跳转到不同节点。
下面是一个简化的「评分决策」示例,根据 score 分数分别走向通过 / 复核 / 拒绝三条路径:
@configuration
public class conditionalgraphconfig {
@bean("scoredecisiongraph")
public compiledgraph scoredecisiongraph() throws graphstateexception {
stategraph graph = new stategraph("scoredecisiongraph", () -> map.of(
"score", new replacestrategy(), // 保存当前评分
"result", new replacestrategy() // 保存决策结果
));
// 读取或设置评分(示例中从 state 中读取,实际可由外部请求传入)
graph.addnode("checkscore", asyncnodeaction.node_async(state -> {
integer score = (integer) state.value("score").orelse(75); // 默认 75 分
return map.of("score", score);
}));
// 三个业务分支节点:通过 / 复核 / 拒绝
graph.addnode("pass", asyncnodeaction.node_async(state ->
map.of("result", "pass")));
graph.addnode("review", asyncnodeaction.node_async(state ->
map.of("result", "review")));
graph.addnode("reject", asyncnodeaction.node_async(state ->
map.of("result", "reject")));
// 起点先进入评分检查节点
graph.addedge(stategraph.start, "checkscore");
// 多条件边:根据 score 返回不同的“标签”,再由 mappings 决定下一跳节点
graph.addconditionaledges("checkscore",
asyncedgeaction.edge_async(state -> {
int score = (integer) state.value("score").orelse(0);
if (score >= 80) {
return "pass";
}
if (score >= 60) {
return "review";
}
return "reject";
}),
map.of(
"pass", "pass",
"review", "review",
"reject", "reject"
)
);
// 三个结果节点最终都指向 end
graph.addedge("pass", stategraph.end);
graph.addedge("review", stategraph.end);
graph.addedge("reject", stategraph.end);
return graph.compile();
}
}这段代码中,addconditionaledges 的三个参数含义是:
sourceid:条件边的源节点 id,这里是"checkscore";asyncedgeaction:根据当前overallstate计算条件标签,这里返回"pass"/"review"/"reject";mappings:标签与目标节点 id 的映射,例如"pass" -> "pass",即当标签为"pass"时跳到pass节点。
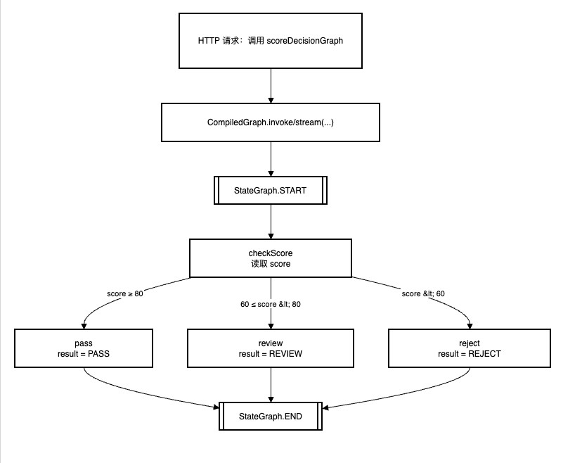
对应的执行流程,可以画成如下多分支流程图:

在真实项目中,你可以把 score 换成「风控评分」「召回结果命中情况」「用户画像标签」等任意业务信号,通过 addconditionaledges 把复杂分支逻辑从代码 if/else 中抽离出来,统一放在 graph 层管理。
在这个子项目中,graph 本身是“流程层”,可以在节点里调用 spring ai / spring ai alibaba 的各种模型与工具,实现复杂的多步推理与业务编排。
八、如何从本地 ollama 平滑切到阿里云 dashscope
虽然当前 demo 主要跑在本地 ollama 上,但由于使用了 spring ai + spring ai alibaba 的统一抽象,切换到阿里云 dashscope 十分简单:
- 在
pom.xml中启用 dashscope starter(示例中已给出注释代码):
<dependency>
<groupid>com.alibaba.cloud.ai</groupid>
<artifactid>spring-ai-alibaba-starter-dashscope</artifactid>
<version>1.1.0.0-m5</version>
</dependency>- 在配置文件中增加 dashscope 的配置(示例):
spring:
ai:
dashscope:
api-key: ${dashscope_api_key} # 从环境变量或配置中心读取 dashscope 的 api key
endpoint: https://dashscope.aliyuncs.com
chat:
options:
model: qwen-plus # 使用的通义千问在线模型
temperature: 0.8 # 采样温度
max-tokens: 2048 # 单次回答的最大 token 数- 将原来的
chatmodel注入点从 ollama 替换为 dashscope 对应的 bean(通常只需要调整配置,不改业务代码)。
凭借 spring ai 的抽象层,你可以:
- 开发阶段:本地跑 qwen3(ollama),成本低、调试快;
- 生产阶段:切到云上 dashscope(qwen-max / qwen-plus 等),享受更强算力和更高可用性;
- 中长期:在 spring ai alibaba 的生态内同时兼容多家国内模型厂商。
九、实践建议与最佳实践
- 配置管理
- api key 使用环境变量或配置中心(nacos、kms 等),避免硬编码;
- ollama、dashscope 的模型名称、温度等参数尽量抽到配置文件中。
- 错误处理与重试
- 针对网络异常、超时、限流等场景做兜底和重试策略;
- 对外暴露的接口统一封装错误返回,避免直接把底层错误抛给前端。
- 性能与成本
- 在高并发场景建议优先使用流式输出 + 前端增量渲染;
- rag 中控制 topk、相似度阈值和切分策略,避免向量库“爆炸”。
- 代码结构
- 将
chatclient配置、graph 配置等放在独立的config包中,业务层只关心接口调用; - 工具方法使用
@tool暴露,便于模型统一管理和调用。
- 将
- 版本与升级
- spring ai alibaba 当前仍以 milestone 版本为主(如
1.1.0.0-m5),升级前建议阅读 release notes; - 保持对
spring-ai-bom/spring-ai-alibaba-bom的依赖,让升级尽量在 bom 层完成。
- spring ai alibaba 当前仍以 milestone 版本为主(如
十、总结与展望
基于 spring_ai_alibaba-demo 子项目,我们实际体验了一次:
- 如何用 spring ai + spring ai alibaba bom 快速接入本地 qwen3(ollama);
- 如何在同一套抽象下串联起对话、记忆、rag、工具调用;
- 如何通过
spring-ai-alibaba-graph-core构建基于大模型的有状态工作流; - 以及如何在不改业务代码的前提下,为未来切换到阿里云 dashscope 留出空间。
对 spring 开发者来说,这套体系最大的价值在于:
- 统一抽象:不同模型供应商之间切换成本极低;
- 生态完善:兼容 spring boot、webflux、向量库、mcp、graph 等丰富组件;
- 本地 + 云端双模:既能在本地快速迭代,又能无缝迁移到云上生产环境。
再次附上示例子项目 github 地址,欢迎你亲手跑一跑代码、提 issue、点 star:
github 项目地址:https://github.com/zhoubyte-hub/java-ai/tree/main/spring_ai_alibaba-demo
到此这篇关于spring ai alibaba + ollama 实战教程(基于本地 qwen3 的 spring boot 大模型应用)的文章就介绍到这了,更多相关spring ai alibaba ollama 实战内容请搜索代码网以前的文章或继续浏览下面的相关文章希望大家以后多多支持代码网!
发表评论