一、中间件
介绍
在 django 中,中间件(middleware)是一组轻量级、底层的插件系统,用于全局地改变 django 的输入和输出。中间件可以在请求被处理之前和响应返回之前执行代码,从而实现各种功能,例如跨域资源共享(cors)、用户认证、日志记录等。
激活中间件
若要激活中间件,需要添加到settings.middleware中
- 每个中间件组件由字符串表示:指向中间件工厂类的完整 python 路径。
 - 需求注意中间件的添加顺序。因为中间件有执行顺序,而且中间件之间可能有依赖关系。
 - 中间件的全局执行顺序
- 请求阶段:按
settings.middleware中从上到下的顺序执行。 - 视图处理:请求到达视图函数。
 - 响应阶段:按
settings.middleware中从下到上的顺序执行。 
 - 请求阶段:按
 
middleware = [
    "corsheaders.middleware.corsmiddleware",  # cors跨域支持
    "django.middleware.security.securitymiddleware",
    "django.contrib.sessions.middleware.sessionmiddleware",
    "django.middleware.locale.localemiddleware",  # i18n多语言支持,注意放置顺序
    "django.middleware.common.commonmiddleware",
    "django.middleware.csrf.csrfviewmiddleware",
    "django.contrib.auth.middleware.authenticationmiddleware",
    "django.contrib.messages.middleware.messagemiddleware",
    "django.middleware.clickjacking.xframeoptionsmiddleware",
    # "myapp_system.operate_log.services.operatelogmiddleware",  # 操作日志开关:如果数据库磁盘io性能一般,建议关闭
]生命周期
中间件生命周期
- 请求阶段:
process_request(request):在视图函数被调用之前执行,用于处理请求。如果返回httpresponse对象,则后续的中间件和视图不会被调用,直接返回响应。 - 视图阶段:
process_view(request, view_func, view_args, view_kwargs):在视图函数被调用之前执行,可以用于根据视图函数的参数或请求信息进行额外处理。 - 响应阶段:
process_response(request, response):在视图函数返回响应后执行,用于处理响应对象,可以修改响应内容或响应头。 - 异常阶段:
process_exception(request, exception):当视图函数抛出异常时执行,用于处理异常并返回一个httpresponse对象。 
内置中间件示例
django.contrib.auth.middleware.authenticationmiddleware:django内置的认证中间件,实现将user属性添加到每个传入的httprequest对象中,表示当前已登录的用户
class authenticationmiddleware(middlewaremixin):
    def process_request(self, request):
        if not hasattr(request, "session"):
            raise improperlyconfigured(
                "the django authentication middleware requires session "
                "middleware to be installed. edit your middleware setting to "
                "insert "
                "'django.contrib.sessions.middleware.sessionmiddleware' before "
                "'django.contrib.auth.middleware.authenticationmiddleware'."
            )
        request.user = simplelazyobject(lambda: get_user(request))二、自定义中间件
中间件钩子函数
process_view()中间件钩子函数
- 语法:
process_view(request, view_func, view_args, view_kwargs) - 调用顺序:process_view() 只在 django 调用视图前被调用。
 - 返回
- 如果它返回 
none,django 将继续处理这个请求,执行任何其他的process_view(),然后执行相应的视图。 - 如果它返回 
httpresponse对象,django 不会去影响调用相应的视图;它会将响应中间件应用到httpresponse并返回结果。 
 - 如果它返回 
 
基于类的中间件
基于类的自定义中间件格式
- 语句
response = self.get_response(request),将__call__()方法中的代码分为两部分 
class simplemiddleware:
    def __init__(self, get_response):
        # 执行一次性配置和初始化工作
        self.get_response = get_response
    def __call__(self, request):
        # 每个请求调用一次,在视图函数被调用之前执行
        response = self.get_response(request)
        # 每个请求调用一次,在视图函数被调用之后执行
        return response三、实战案例
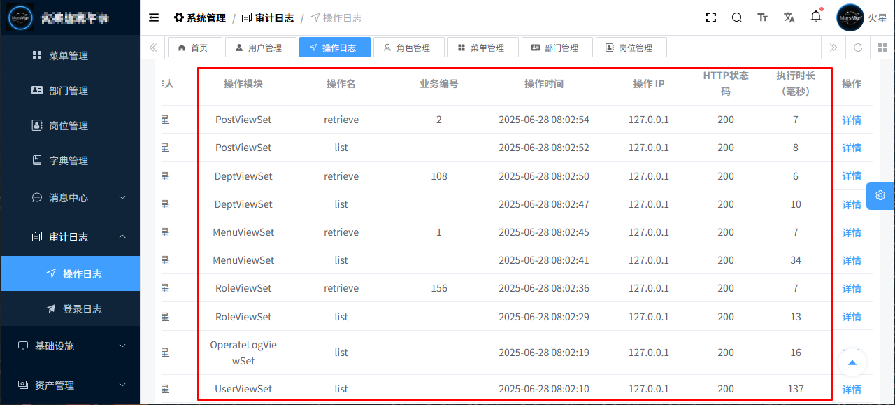
操作日志功能
通过自定义中间件,实现django操作日志记录功能
- 第1步:定义类
operatelogmiddleware,方法__init__()中,添加exclude_urls排除不需要记录的url的列表,和一个字典log_data用于临时存放日志信息。 

- 第2步:在执行视图函数之前,向字典
log_data记录请求方法、请求路径、操作ip、浏览器agent信息等 

- 第3步:在执行视图函数之后,向字典
log_data记录用户id、业务状态码、http状态码、响应数据、返回结果和执行时间 

- 第4步:
process_view()中间件钩子函数中,向字典log_data记录视图名称、action名称、资源id 

第5步:字典log_data记录的操作日志信息,通过celery异步任务,写入数据库。实现操作日志记录功能。
代码运行效果:

参考资料
到此这篇关于django自定义中间件实现全链路操作日志记录的文章就介绍到这了,更多相关django自定义中间件全链路内容请搜索代码网以前的文章或继续浏览下面的相关文章希望大家以后多多支持代码网!
            
                                            
                                            
                                            
                                            
                                            
                                            
发表评论