当前位置: 代码网 > 科技>操作系统>

苹果Mac

苹果面临 380 亿美元罚款,欧盟发布初步裁决:App Store 新规禁止开发者自由引导用户

苹果面临 380 亿美元罚款,欧盟发布初步裁决:App Store 新规禁止开发者自由引导用户

2024-06-25 21:29 | 分类:操作系统 | 评论:0 次 | 浏览: 170

欧盟于昨日(6 月 24 日)发布初步裁决公告,认定苹果欧洲新规违反了《数字市场法案》,将于 2025 年 3 月做出最终裁决。

古尔曼:苹果“平价版”Vision Pro 头显需配合 iPhone / Mac 才能使用

古尔曼:苹果“平价版”Vision Pro 头显需配合 iPhone / Mac 才能使用

2024-06-24 21:50 | 分类:操作系统 | 评论:0 次 | 浏览: 118

彭博社的马克・古尔曼(Mark Gurman)在最新一期 Power On 实时通讯中透露苹果正在开发“平价版”Vision Pro,这款代...

欧盟将对苹果公司采取进一步措施,确保 App Store 和 iOS 遵守《数字市场法案》

2024-06-24 21:50 | 分类:操作系统 | 评论:0 次 | 浏览: 126

欧盟内部市场委员蒂埃里·布雷东今天在X平台发文表示,长期以来,苹果公司一直在排挤创新公司,剥夺消费者的新机会和新选择。

苹果 iPadOS 18“文件”应用隐藏功能:可将外置磁盘格式化为 APFS / ExFAT / FAT 格式

苹果 iPadOS 18“文件”应用隐藏功能:可将外置磁盘格式化为 APFS / ExFAT / FAT 格式

2024-06-24 21:50 | 分类:操作系统 | 评论:0 次 | 浏览: 137

开发者 Kabel Cadle 近日发现在苹果 iPadOS 18“文件”App 中隐藏了一项格式化外置驱动器的功能,用户可以将外接的 U ...

苹果 AI 遭遇滑铁卢:Apple Intelligence 暂不支持在欧盟使用

苹果 AI 遭遇滑铁卢:Apple Intelligence 暂不支持在欧盟使用

2024-06-22 18:55 | 分类:操作系统 | 评论:0 次 | 浏览: 105

苹果在给《金融时报》的声明中表示由于 DMA 法案合规相关的监管问题,这些功能今年将无法在欧盟提供给用户,不过他们正在努力为欧盟用户带来上述...

消息称苹果 AI 已与百度、阿里、百川接触,寻求与中国本土企业合作

消息称苹果 AI 已与百度、阿里、百川接触,寻求与中国本土企业合作

2024-06-22 18:55 | 分类:操作系统 | 评论:0 次 | 浏览: 104

据《华尔街日报》当地时间周四报道,苹果公司目前正在积极寻找一家中国本土企业进行合作,以便在中国推出“苹果牌AI”Apple Intellig...

苹果美国开启 2024 教育优惠返校季活动,购 Mac / iPad 最高赠 150 美元礼品卡

苹果美国开启 2024 教育优惠返校季活动,购 Mac / iPad 最高赠 150 美元礼品卡

2024-06-21 19:02 | 分类:操作系统 | 评论:0 次 | 浏览: 113

苹果今天针对北美的在校大学生推出了一年一度的“返校季”促销活动,最高赠送 200 加元或 150 美元(当前约 1090 元人民币)的 Ap...

猫爪印等个性元素,苹果 iPadOS 18 App 可为 Apple Pencil 定制绘图工具

猫爪印等个性元素,苹果 iPadOS 18 App 可为 Apple Pencil 定制绘图工具

2024-06-21 19:02 | 分类:操作系统 | 评论:0 次 | 浏览: 113

苹果公司计划自 iPadOS 18 系统开始,iPad 应用可以为 Apple Pencil 提供自定义绘图工具。

修复两项小型 Bug:苹果 iOS / iPadOS 17.6 Public Beta 1 公测版发布

修复两项小型 Bug:苹果 iOS / iPadOS 17.6 Public Beta 1 公测版发布

2024-06-21 19:02 | 分类:操作系统 | 评论:0 次 | 浏览: 111

苹果今日向 iPhone 用户推送了 iOS 17.6 Public Beta 1 更新(内部版本号:21G5052e),本次更新距离对应开...

14.x 最后测试版本,苹果 macOS 14.6 Public Beta 1 公测版更新发布

14.x 最后测试版本,苹果 macOS 14.6 Public Beta 1 公测版更新发布

2024-06-21 19:02 | 分类:操作系统 | 评论:0 次 | 浏览: 111

苹果今日向 Mac 电脑用户推送了 macOS 14.6 Public Beta 1 更新(内部版本号:23G5052d),本次更新距离对应...

苹果时隔半年更新 iPad 版 Final Cut Pro:M4 渲染速度较 M1 提高 2 倍、支持移动硬盘

苹果时隔半年更新 iPad 版 Final Cut Pro:M4 渲染速度较 M1 提高 2 倍、支持移动硬盘

2024-06-21 19:02 | 分类:操作系统 | 评论:0 次 | 浏览: 104

苹果公司今天更新了 iPad / Mac 版 Final Cut Pro 应用更新,其中 iPad 版本从 1.3 版本(去年 11 月更新...

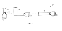
哪里不知道指哪里,苹果 Apple Watch 新专利探索全新交互体验

哪里不知道指哪里,苹果 Apple Watch 新专利探索全新交互体验

2024-06-21 19:02 | 分类:操作系统 | 评论:0 次 | 浏览: 104

根据美国商标和专利局昨日(6 月 20 日)公示的清单,苹果公司获得了一项关于 Apple Watch 的专利,主要利用超宽带(Ultra-...

苹果牌 AI 前瞻调查:将改变短信和邮件、Siri、照片编辑交互方式

苹果牌 AI 前瞻调查:将改变短信和邮件、Siri、照片编辑交互方式

2024-06-20 18:41 | 分类:操作系统 | 评论:0 次 | 浏览: 101

苹果发布 Apple Intelligence 之后,用户最渴望应用在哪些方面呢?市场调查机构 CIRP 公布的最新结果显示,美国 iPho...

苹果扩充 AI 模型和研究论文,在 Hugging Face 平台上传 20 个新 Core ML 模型

苹果扩充 AI 模型和研究论文,在 Hugging Face 平台上传 20 个新 Core ML 模型

2024-06-20 18:41 | 分类:操作系统 | 评论:0 次 | 浏览: 114

苹果公司进一步补充现有的公开模型和研究论文,向开源人工智能知识库 Hugging Face 提供了 20 个新的核心机器学习模型。

消息称联咏 Novatek 打入苹果 iPhone 16 OLED 驱动 IC 供应链,7 月起向 LG Display 供货

消息称联咏 Novatek 打入苹果 iPhone 16 OLED 驱动 IC 供应链,7 月起向 LG Display 供货

2024-06-19 21:54 | 分类:操作系统 | 评论:0 次 | 浏览: 112

据台媒经济日报报道,联咏 Novatek 通过 LG Display 打入苹果 iPhone 16 OLED 驱动 IC 供应链,今年 7 ...

苹果开发者学院推出全新课程:教你从零开始构建 / 培训 AI 模型等

苹果开发者学院推出全新课程:教你从零开始构建 / 培训 AI 模型等

2024-06-19 21:54 | 分类:操作系统 | 评论:0 次 | 浏览: 110

苹果公司今天发布新闻稿,将于今年秋季面向开发者学院的学生、导师以及校友等,推出全新的 AI 培训课程。

苹果官网推出“帮我选”页面,助力用户挑选最合适 Mac 电脑

苹果官网推出“帮我选”页面,助力用户挑选最合适 Mac 电脑

2024-06-19 21:54 | 分类:操作系统 | 评论:0 次 | 浏览: 117

苹果公司官网今日上线了全新“帮我选择”网页(苹果中国官网暂未上线),旨在帮助潜在用户挑选最适合自己的 Mac 电脑。该页面会向用户提出几个简...

OLED 面板助力,苹果正探索 MacBook Pro 轻薄极限

OLED 面板助力,苹果正探索 MacBook Pro 轻薄极限

2024-06-19 21:54 | 分类:操作系统 | 评论:0 次 | 浏览: 111

屏幕供应链咨询公司 DSCC 首席执行官罗斯・杨(Ross Young)转发媒体报道,并表示苹果 MacBook Pro 产品线改用 OLE...

苹果妙控鼠标、妙控板迎来 3.1.1 固件更新,但现有用户难以升级

苹果妙控鼠标、妙控板迎来 3.1.1 固件更新,但现有用户难以升级

2024-06-19 21:54 | 分类:操作系统 | 评论:0 次 | 浏览: 114

和 AirPods 或 AirTag 一样,妙控鼠标这类苹果配件也会不时收到固件更新带来性能提升。苹果周一为妙控鼠标和妙控板发布了新固件版本...

面板第三季度出货,罗斯・杨称苹果今年第四季度推出 14/16 英寸 M4 MacBook Pro

面板第三季度出货,罗斯・杨称苹果今年第四季度推出 14/16 英寸 M4 MacBook Pro

2024-06-19 21:54 | 分类:操作系统 | 评论:0 次 | 浏览: 118

屏幕供应链咨询公司 DSCC 首席执行官罗斯・杨(Ross Young)今天(6 月 19 日)向其订阅用户发布推文,表示苹果 14 英寸和...

组队训练 AI,MLX 项目亮相:苹果 Mac 集群化驾驭并行计算任务

组队训练 AI,MLX 项目亮相:苹果 Mac 集群化驾驭并行计算任务

2024-06-19 21:54 | 分类:操作系统 | 评论:0 次 | 浏览: 122

科技媒体 AppleInsider 于 6 月 17 日发布博文,介绍了名为 MLX 的全新项目,利用 Thunderbolt 电缆连接多台...

避免 400 亿美元罚款,苹果被曝和欧盟和解:妥协开放 NFC 移动支付

避免 400 亿美元罚款,苹果被曝和欧盟和解:妥协开放 NFC 移动支付

2024-06-19 21:54 | 分类:操作系统 | 评论:0 次 | 浏览: 114

FT 最新报道称苹果公司即就移动支付反垄断案,和欧盟委员会达成和解。报道称和解后欧盟将结束对苹果 Apple Pay 的长期调查,而且可能会...

苹果 macOS 15 Sequoia 自带虚拟机开放 iCloud 登录服务

2024-06-19 21:54 | 分类:操作系统 | 评论:0 次 | 浏览: 120

只要物理机和虚拟机同时使用 macOS 15 Sequoia 或更新版本,就能够在虚拟机登录并使用 iCloud 和其他与 Apple ID...

安徽首家:苹果合肥 Apple Store 零售店将落地万象城,计划 12 月 1 日竣工

安徽首家:苹果合肥 Apple Store 零售店将落地万象城,计划 12 月 1 日竣工

2024-06-19 21:54 | 分类:操作系统 | 评论:0 次 | 浏览: 117

据安徽交通广播“908新媒体”今日报道,合肥市蜀山区住房和城乡建设局方面表示,合肥万象城提档节点工程,苹果零售店室内装修工程施工许可证近日正...

要想体验 Apple Intelligence 必须买 iPhone 15 Pro?苹果:完全是出于速度考虑而非营销套路

要想体验 Apple Intelligence 必须买 iPhone 15 Pro?苹果:完全是出于速度考虑而非营销套路

2024-06-19 21:54 | 分类:操作系统 | 评论:0 次 | 浏览: 104

苹果软件工程主管 Craig Federighi 表示,公司推出的所有新功能首先考虑的都是尽量让老设备也能用,但对于Apple Intell...

Macbook笔记本死机了? 按这几个键就能快速恢复

Macbook笔记本死机了? 按这几个键就能快速恢复

2024-06-19 19:30 | 分类:操作系统 | 评论:0 次 | 浏览: 115

虽然macbook通常运行得非常稳定,也可能遇到死机。本文将介绍在macbook死机时,用户可以采取的步骤以及相应的快捷键来尝试恢复系统。演...

mac系统无法启动怎么办? 使用恢复模式修复Mac启动问题的技巧

mac系统无法启动怎么办? 使用恢复模式修复Mac启动问题的技巧

2024-06-19 19:30 | 分类:操作系统 | 评论:0 次 | 浏览: 108

如果你的mac无法启动,不要惊慌,mac有一个隐藏的恢复模式,你可以使用它来诊断和修复任何问题,或者在需要时完全重新安装macos。以下是如...

macOS 14.x 最后开发版本,苹果 macOS 14.6 开发者预览版 Beta 发布

macOS 14.x 最后开发版本,苹果 macOS 14.6 开发者预览版 Beta 发布

2024-06-18 19:02 | 分类:操作系统 | 评论:0 次 | 浏览: 107

苹果今日向 Mac 电脑用户推送了 macOS 14.6 开发者预览版 Beta 更新(内部版本号:23G5052d),本次更新距离上次发布...

Valve 移除旗下多款经典游戏对苹果 Mac 的原生支持,含《求生之路 2》《传送门》等

Valve 移除旗下多款经典游戏对苹果 Mac 的原生支持,含《求生之路 2》《传送门》等

2024-06-18 19:02 | 分类:操作系统 | 评论:0 次 | 浏览: 120

就在苹果于 WWDC24 上宣布将大幅提升 macOS Sequoia 游戏性能的同一周,游戏开发商 Valve 却悄悄移除了旗下多款游戏的...

消息称苹果 2024 返校季活动本周启动,首批国家为美国和加拿大

消息称苹果 2024 返校季活动本周启动,首批国家为美国和加拿大

2024-06-18 19:02 | 分类:操作系统 | 评论:0 次 | 浏览: 121

古尔曼表示,苹果需要通过返校季活动在 M4 芯片的产品线全面推出之前处理旧款 Mac 的库存,搭载 M4 芯片的 MacBook Pro、M...

Copyright © 2017-2026  代码网 保留所有权利. 粤ICP备2024248653号
站长QQ:2386932994 | 联系邮箱:2386932994@qq.com